INQUIRY  

LED LAMP 3mm Series SINGLE COLOR

L314
L314 Series Popular Type
 
L354
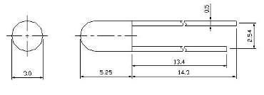
L354 Series Edgeless Type
 
L294
L294 Series Short Type
 

JOINSCAN'S LED

JOINSCAN ELECTRONICS CO., LTD.
TEL:886-2-2696-1188    FAX:886-2-2696-1098
5F NO. 98, SEC. 1, XINTAI 5TH ROAD, XIZHI DIST., NEW TAIPEI CITY 22102,TAIWAN

 

????? 3MM 3IN1